CFB锅炉的各设备的作用
2023-02-13 天博体育在线注册,天博体育(中国)
换热器头盖法兰的带压堵漏案例分享
2023-02-11 天博体育在线注册,天博体育(中国)
分享常用金属材料硬度对照表
锅炉“干锅”有什么危害?如何处理?
热电偶补偿原理知识分享
2023-02-06 天博体育在线注册,天博体育(中国)
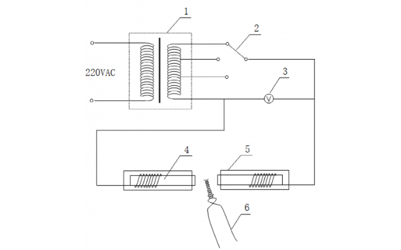
一种贵金属热电偶焊接装置
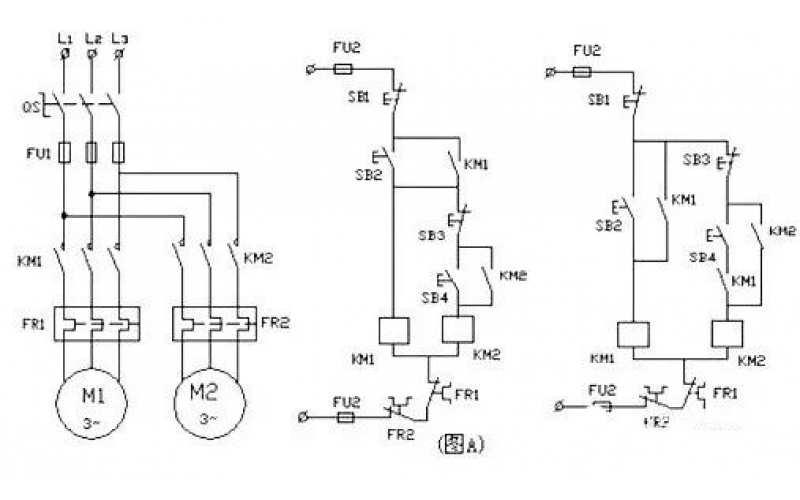
电动机控制线路故障查找方法
中空液压扳手工作头怎样选配?
2023-01-13 天博体育在线注册,天博体育(中国)